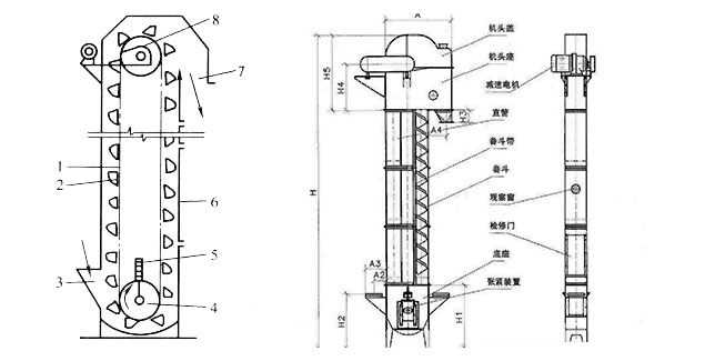
斗式垂直提升機皮帶式、環(huán)鏈式、板鏈式的原理圖
料斗把物料從下面的儲藏中舀起,隨著輸送帶或鏈提升到頂部,繞過頂輪后向下翻轉, 斗式提升機將物料傾入接受槽內。帶傳動的斗式提升機的傳動帶一般采用橡膠帶,裝在下或上面的傳動滾筒和上下面的改向滾筒上。鏈傳動的斗式提升機一般裝有兩條平行的傳動鏈,上或下面有一對傳動鏈輪,下或上面是一對改向鏈輪。斗式提升機一般都裝有機殼,以防止斗式提升機中粉塵飛揚。
皮帶式斗式垂直提升機

環(huán)鏈式斗式垂直提升機

板鏈式斗式垂直提升機

相關文章:
相信你還想找這些!
篩分篩選機械
- 石墨粉振動篩
- 灰乳轉篩
- 振網(wǎng)篩
- 水力篩
- 泥石分離機
- 平面往復篩
- 活性炭振動篩
- 砂石篩
- 盤選篩
- 除土篩
- 制砂滾動篩
- 金剛砂振動篩
- 鑄造篩砂機
- 陶粒砂成品篩
- 泥漿分砂機
- 分砂機
- 圓型振動篩
- 分級振動篩
- 醫(yī)藥振動篩
- 粉體篩分選篩
- 雙質體高頻微粉振動篩
- 顆粒分離振動篩
- 自動清理振動篩
- 磁懸浮振動篩
- 篩砂機
- 篩草機
- 篩料機
- 激振器式脫水篩
- 大型滾筒篩
- 糖,鹽業(yè)專用搖擺篩
- 圓盤搖擺篩
- 搖擺振動篩
- 超聲波直線篩
- 超聲波搖擺篩
- 垃圾滾筒篩
- 電動振篩機
- 方形振動篩
- 篩土機
- 圓形振動篩
- 重型振動篩
- 細粉篩
- 微粉篩
- 復振篩
- 選礦機
- 滾動篩
- 淀粉振動篩
- 顆粒振動篩
- 紅棗分級機
- 電動驗粉篩
- 食品用振動篩
- 石英砂振動篩
- 輥篩
- 砂石骨料振動篩
- 粉末振動篩
- 分級篩
- 洗煤振動篩
- 液體振動篩
- 振蕩篩
- 石子振動篩
- 涂料振動篩
- 釉料過濾篩
- 尿素分級篩
- 珍珠巖專用篩
- 碳素專用篩
- 振動砂石分離機
輸送機械
- 管式螺旋輸送機
- 移動式螺旋輸送機
- 垂直螺旋輸送機
- 蛟龍輸送機
- 粉煤灰輸送機
- 冷卻輸送機
- 板式鏈條輸送機
- 耐高溫輸送機
- 食品級輸送機
- 折疊皮帶機
- 水冷螺旋輸送機
- 板式輸送機
- 拉鏈機
- 振動整列輸送機
- 礦用輸送機
- 波紋擋邊輸送機
- 瀝水鏈板機
- 電機振動水平輸送機
- 鍋爐刮板除渣機
- 無軸螺旋輸送機
- 污泥輸送機
- 刮板機(刮板輸送機)
- 鏈斗輸送機
- 伸縮式皮帶輸送機
- 真空上料機
- 帶式輸送機
- 鱗板機
- 移動式皮帶輸送機
- 大傾角輸送機
- 皮帶輸送機
- 螺旋輸送機
- 振動輸送機
- 鏈板輸送機
- 滾筒輸送機
- 網(wǎng)帶輸送機
- 埋刮板輸送機
提升機械
- 雙斗提升機
- 翻斗提升機
- TD斗式提升機
- TH提升機
- NE型提升機
- TB垂直斗式提升機
- td160斗式提升機
- 垂直上料機
- 水泥提升機
- 螺旋垂直提升機
- 單斗提升機
- 畚斗提升機
- 撈坑脫水斗式提升機
- 挖斗提升機
- 斗式提升機(斗提機)
- 板鏈斗式提升機
- 環(huán)鏈斗式提升機
- 皮帶斗式提升機
- 垂直提升機
- Z型提升機
- 垂直振動提升機
- 物料提升機
給料機械
- 無塵投料站
- 鏈條式提升機
- 喂料機
- 自動給料機
- 螺旋給料機
- 給礦機
- 雙螺旋給料機
- 圓盤式給料機
- 棒條振動給料機
- 槽式給料機
- 擺式給料機
- 活化振動給煤機
- 振動放礦機
- 板式喂料機
- 甲帶給料機
- 電磁振動給料機
- 電機振動給料機
- 往復式給料機
- 圓盤給料機
- 螺旋給料機
- 板式給料機
- 振動給料斗
- 葉輪給料機













